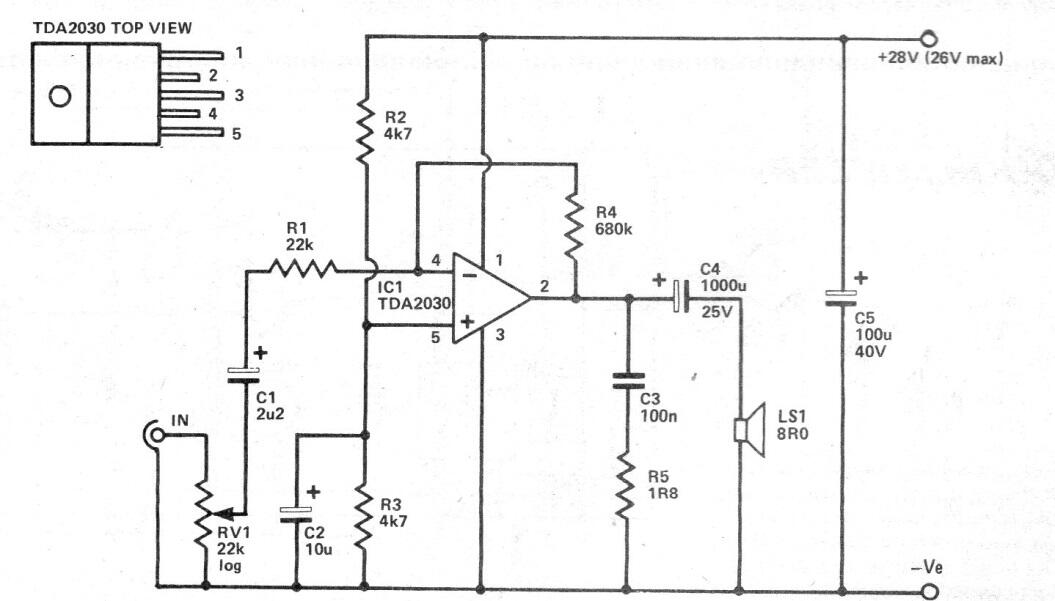
Encontramos esta configuración de amplificador convencional con el TDA2030 en una publicación de 1974. La potencia es del orden de 8 W y la fuente de alimentación debe tener al menos 1,2 A de corriente. El circuito integrado debe montarse en un buen disipador de calor.




