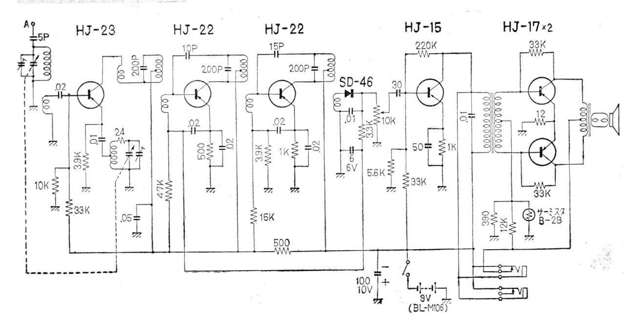
Este receptor comercial se vendió en la década de 1960 en Japón. Es un receptor superheterodino de 6 transistores alimentado por una tensión de 9 V. El circuito tiene salida push-pull y utiliza transistores de germanio comunes en ese momento.
Este receptor comercial se vendió en la década de 1960 en Japón. Es un receptor superheterodino de 6 transistores alimentado por una tensión de 9 V. El circuito tiene salida push-pull y utiliza transistores de germanio comunes en ese momento.