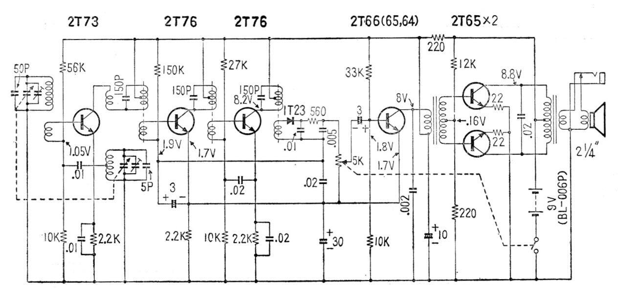
Este viejo receptor fabricado en la década de 1960 en Japón estaba alimentado por una tensión de 9 V y recibió las estaciones de onda media con sus 6 transistores de germanio. El receptor era de tipo superheterodino con salida push-pull.
Este viejo receptor fabricado en la década de 1960 en Japón estaba alimentado por una tensión de 9 V y recibió las estaciones de onda media con sus 6 transistores de germanio. El receptor era de tipo superheterodino con salida push-pull.