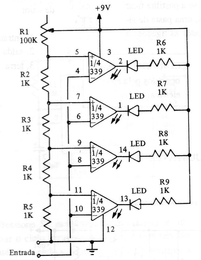
Ya hemos explorado esta configuración en varios artículos en este sitio. Esto se encontró en una documentación estadounidense traducida de la década de 1980. Utiliza el conocido comparador de tensiones LM339. El circuito puede funcionar con tensiones de 5 a 12 V.




