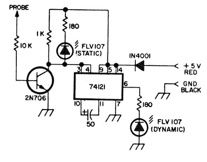
El propósito de este circuito es emitir pulsos infrarrojos. Sin embargo, también se pueden utilizar LED para luz visible. La alimentación debe ser de 5 V y el transistor puede ser de uso general. El circuito puede usarse para operar como un shield.
El propósito de este circuito es emitir pulsos infrarrojos. Sin embargo, también se pueden utilizar LED para luz visible. La alimentación debe ser de 5 V y el transistor puede ser de uso general. El circuito puede usarse para operar como un shield.