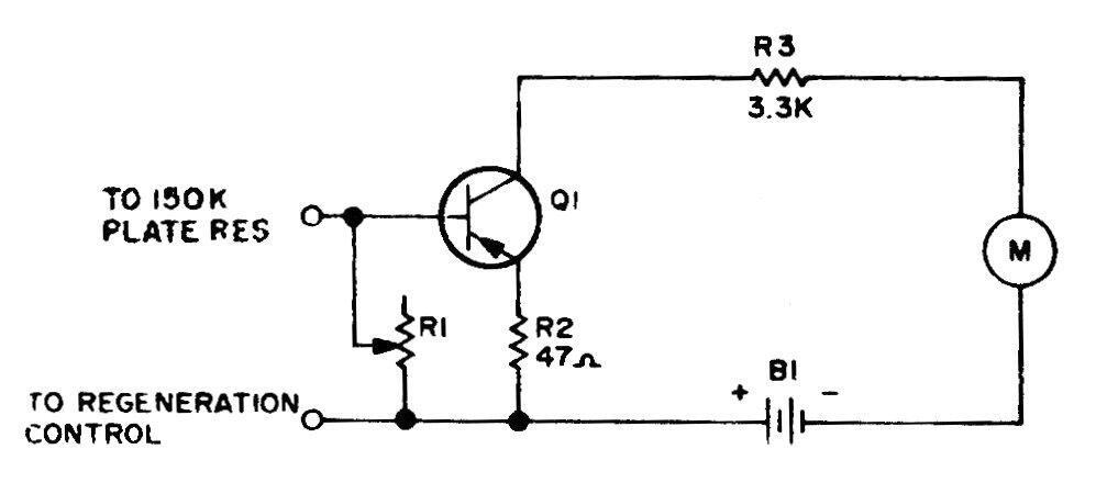
Esimetro o S-meter es un medidor de intensidad de señal utilizado en la transmisión de radio. También conocido como strength meter, en este caso se usa un miliamperímetro común. El transistor es un PNP de propósito general. El circuito es de una documentación para la radioafición de los años 80.




