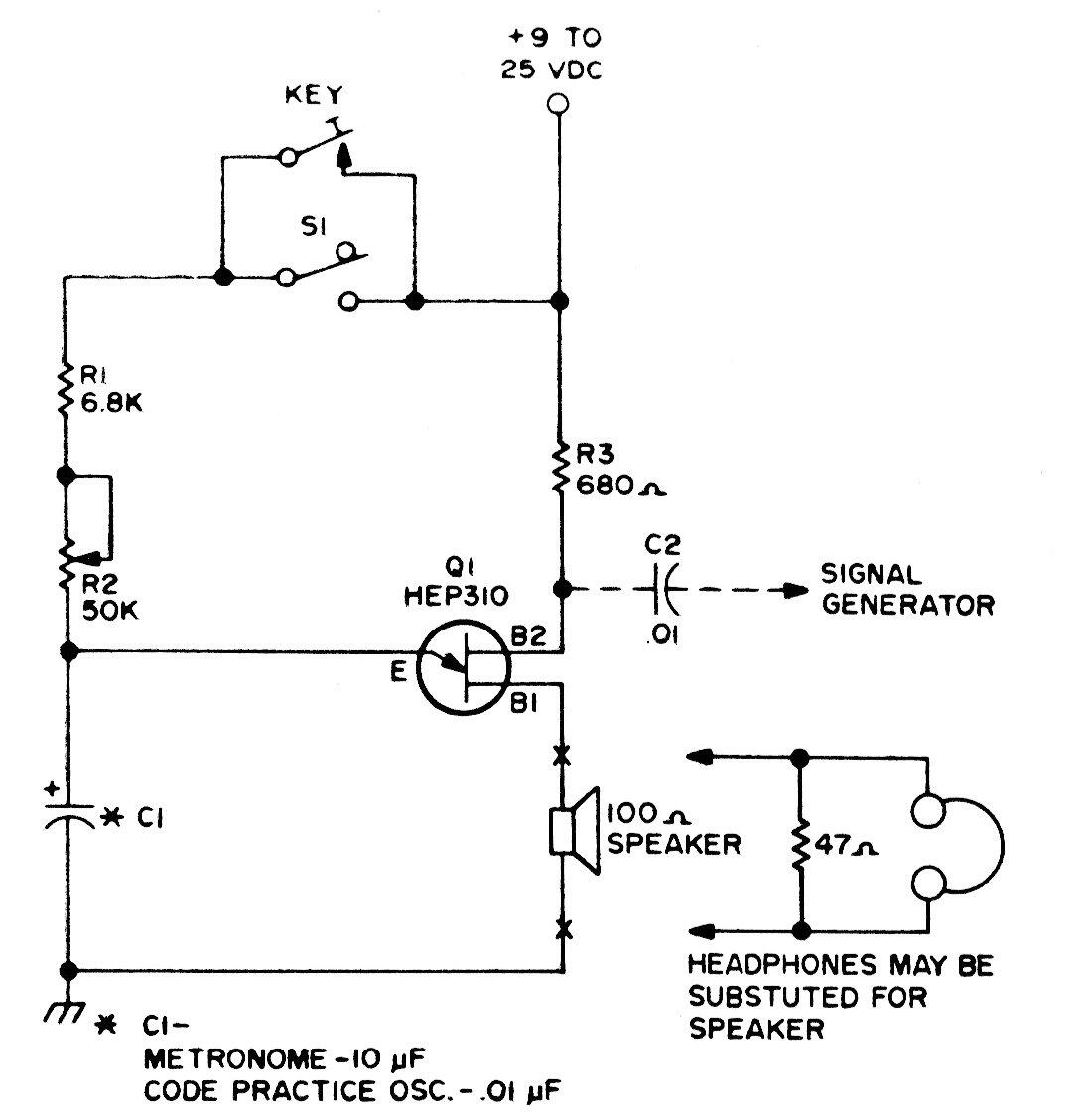
Esta configuración tradicional de transistor unijunction se encontró en una documentación de la década de 1980. Las funciones se reemplazan por los capacitores utilizados. El transistor unijunction puede ser 2N2646. El circuito también funciona como un generador de señal.




