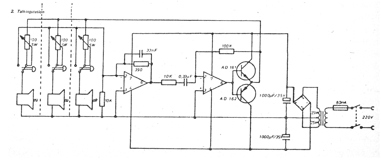
Este circuito fue obtenido en una publicación inglesa de 1975. Se trata de un circuito de intercomunicación con una etapa de amplificación con transistores. El par AD161 / 2 puede ser reemplazado por el par BD135 / 6. El transformador es de 9 + 9 V o 12+ 12 V con 500 mA. Los potenciómetros de hilo permiten el ajuste individual del volumen en cada altavoz. Los rectificadores del puente pueden ser los 1N4002.




