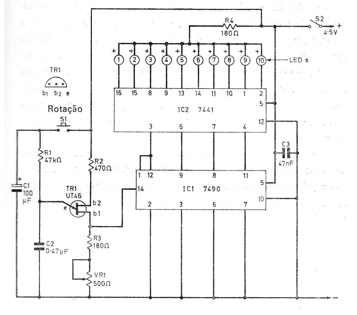
Se obtuvo este circuito en la publicación de Inglés 1979, pero se puede montar con facilidad incluso en la actualidad que utiliza los componentes. El transistor unijuntura puede ser el 2N2646 y la ruleta sortea números de 1 a 10. Para más números, se puede cascar el 7441. La alimentación debe ser hecha con una tensión de 5 V, pues el circuito es TTL.




