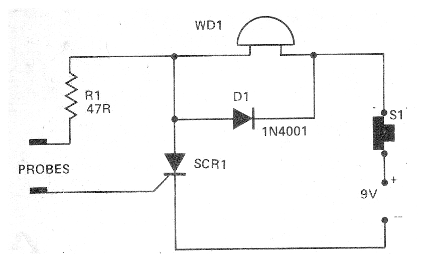
Este simple circuito hace uso de un buzzer con oscilador de 6 V, compensando la caída de tensión de 2 V en el SCR para alimentación de 9 V. Se obtuvo en una publicación inglesa de 1976, pudiendo ser montado con facilidad con el SCR TIC106. No utilice fuente sin transformador para alimentar este circuito. Para R1 es conveniente utilizar un resistor de por lo menos 1k.




