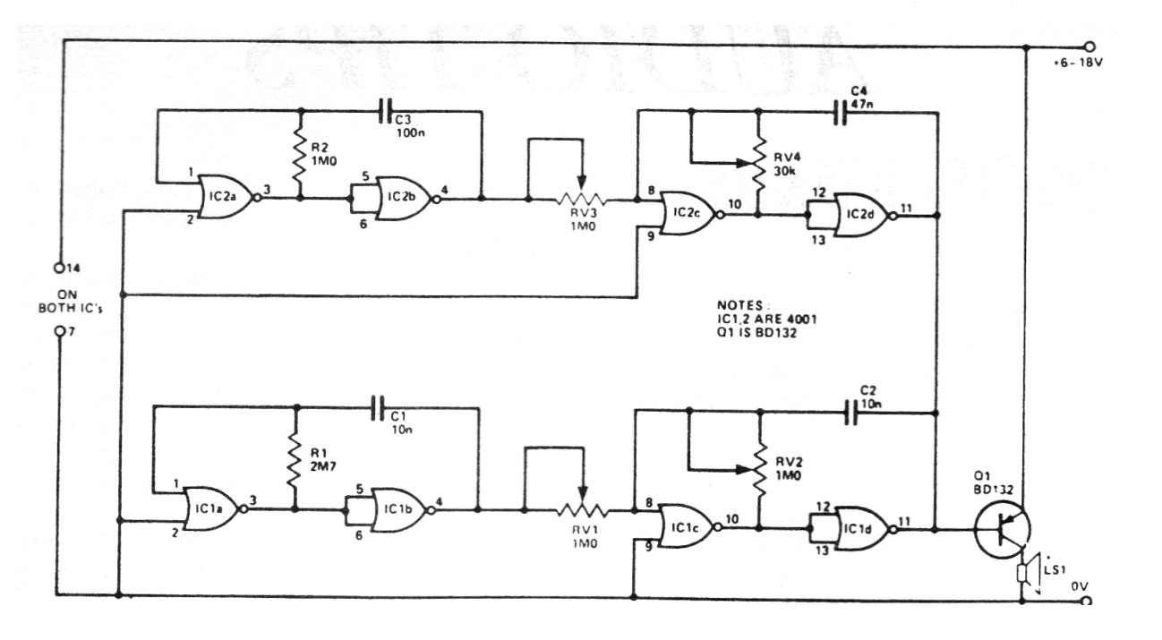
Este circuito genera diversos tipos de sonidos que se programan en los potes disponibles. La salida es un pequeño altavoz y el transistor puede ser el BD136, pero podemos colocar un resistor de 100 ohms en su conexión y aplicar la salida a un amplificador. El circuito es de una revista inglesa de 1990 y el circuito integrado es el 4001.




