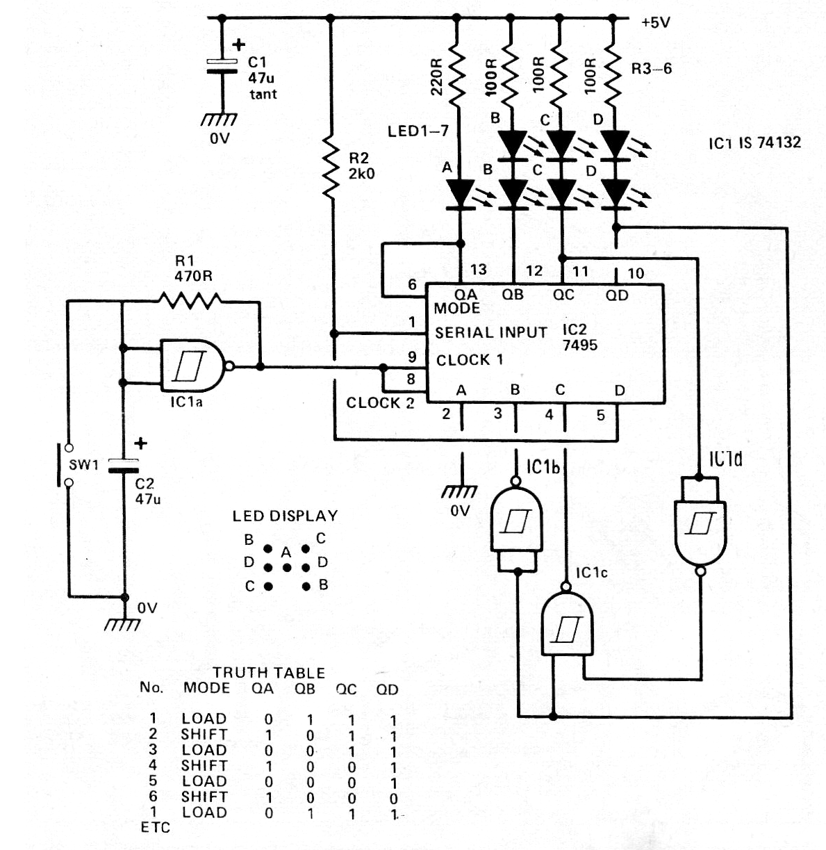
Este dato electrónico digital fue encontrado en una revista de 1977, pero puede ser montado con facilidad aún hoy, pues los componentes usados todavía son comunes. El circuito debe ser alimentado por 5 V y proporciona el resultado en una matriz en forma de dados, sorteando los números de 1 a 6.




