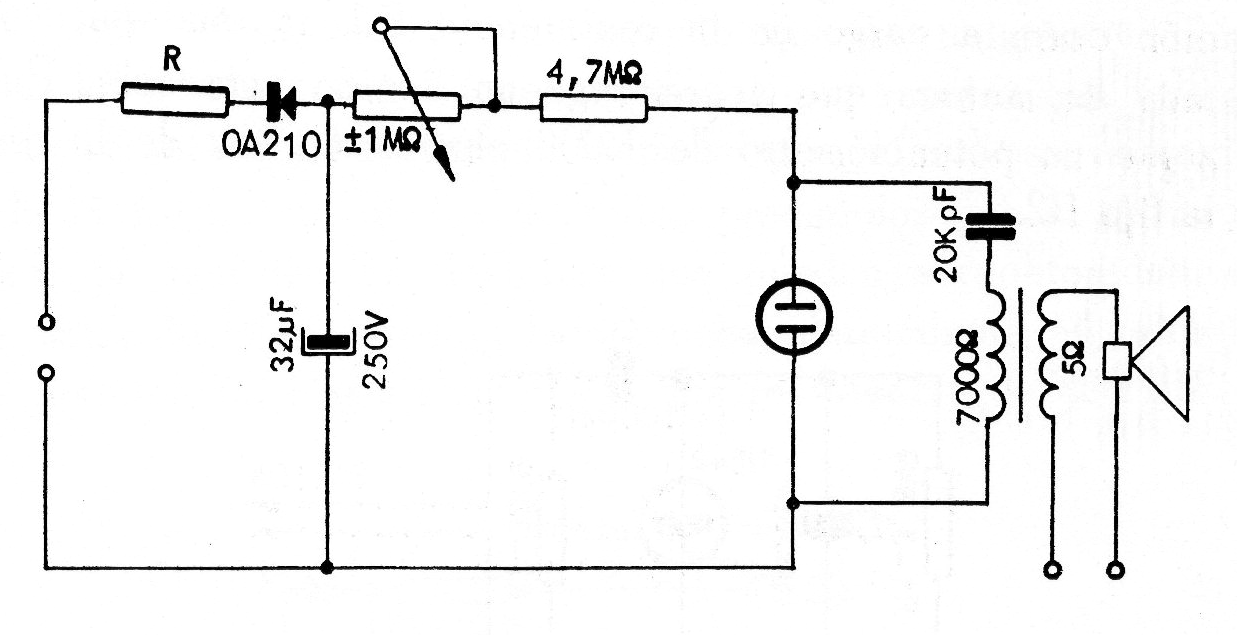
Originalmente este circuito fue elaborado para la práctica del código Morse, algo común en 1966, año de la publicación en que lo encontré. El circuito utiliza un transformador de salida de equipos valvulados y es alimentado por la red de 110 V o 220 V. El diodo puede ser el 1N4004 o 1N4007 según la red. La lámpara de neón es común como la NE-2H o equivalente.




