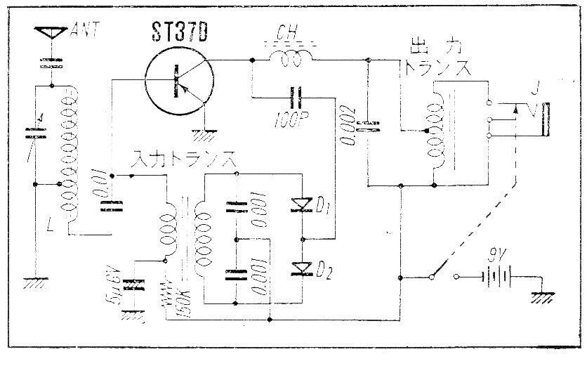
Este circuito regenerativo fue encontrado en una publicación japonesa de los años 60. No se dan detalles de las bobinas, pero por la frecuencia de operación puede tener una idea del número de espiras. La alimentación se realiza por batería de 9 V y la escucha es en el auricular.




