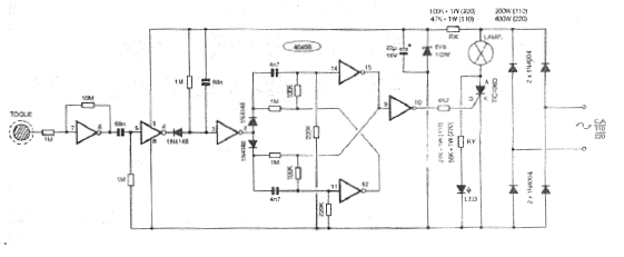
Encontramos este circuito con accionamiento por toque o aproximación en una antigua documentación de los años 80. El circuito todavía puede ser montado, apenas siendo resaltado que la lámpara debe ser incandescente. Dependiendo de su potencia, el SCR debe estar dotado de un disipador de calor.

Pantalla de toque



