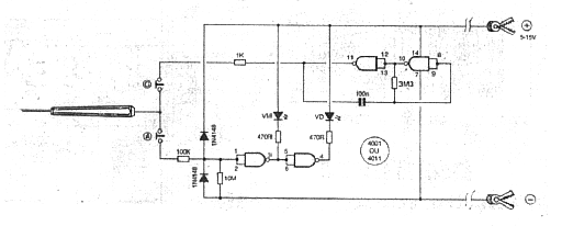
El circuito mostrado a continuación es de una punta de prueba digital o digiteste que puede funcionar tanto con circuitos CMOS como TTL dependiendo sólo de la tensión de alimentación. Esta tensión se obtiene directamente del circuito que se está analizando.

Prueba Digital



