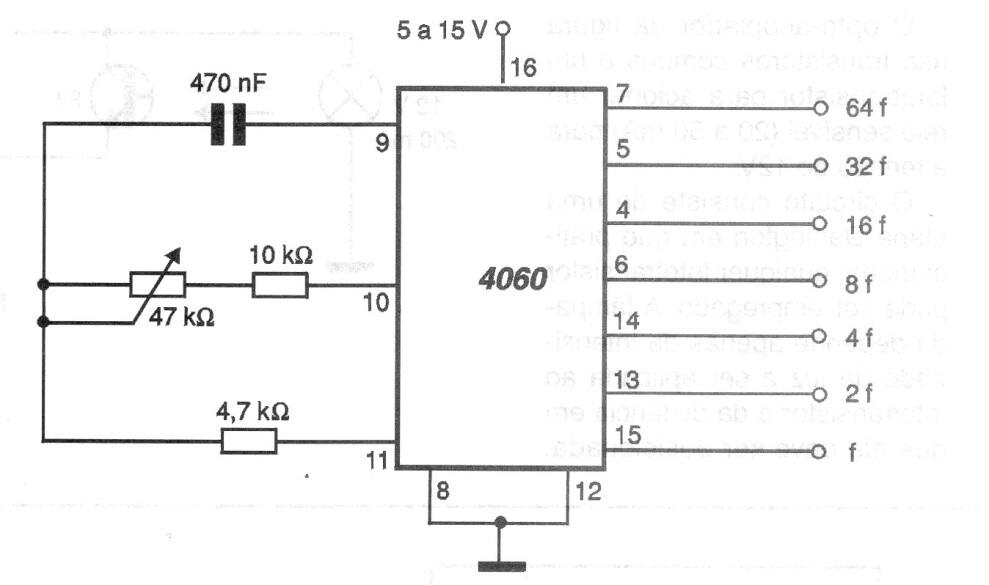
Este oscilador CMOS tiene salidas de diversas frecuencias, siendo esta versión encontrada en una documentación de 2001. El potenciómetro ajusta la frecuencia básica que puede llegar a 2 MHz o poco más dependiendo de la alimentación. En las salidas tenemos entonces frecuencias divididas por los valores indicados.




