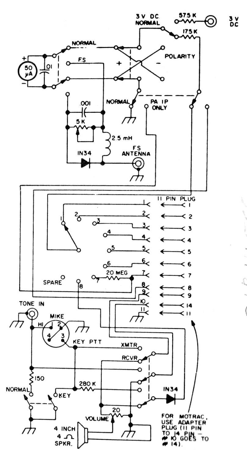
Este circuito para equipos Motorola es de los años 80, pero su principio de funcionamiento puede ser analizado para eventuales aplicaciones más modernas. El circuito se adapta a otros equipos con el cambio de tipo de conector.
Este circuito para equipos Motorola es de los años 80, pero su principio de funcionamiento puede ser analizado para eventuales aplicaciones más modernas. El circuito se adapta a otros equipos con el cambio de tipo de conector.