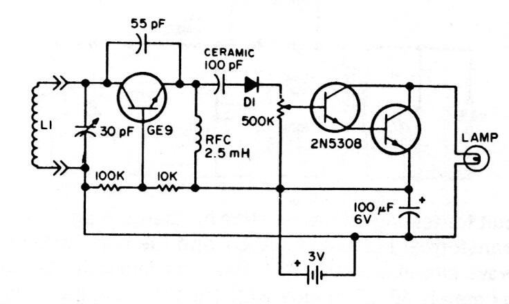
Este es un interesante circuito utilizado en la verificación de circuitos de RF y circuitos resonantes. El transistor oscilador puede ser el BF245 y los demás transistores de uso general. En lugar de la lámpara se puede utilizar un LED en serie con un resistor.




