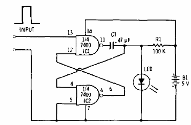
Este circuito es de una documentación de Radio Shack de 1977. En él tenemos el accionamiento de un LED por tiempo determinado por el capacitor C1 y por R1. La alimentación debe ser efectuada por una tensión de 5 V y el disparo es hecho por un pulso lógico positivo. El circuito se puede utilizar como shield para microcontroladores.

Monoestable TTL con LED



