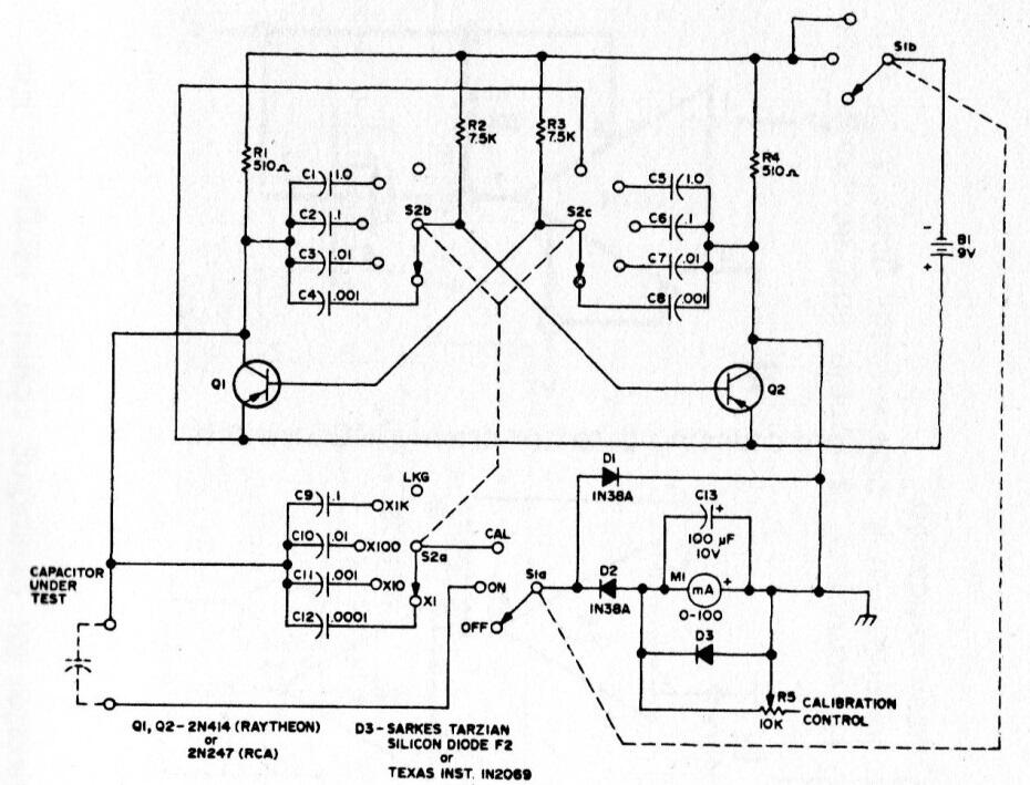
Encontramos este circuito en una documentación americana de los años 80. La precisión del circuito depende de los condensadores usados, pues ellos sirven de referencia. El circuito utiliza un microamperímetro como indicador, pero en su lugar se puede utilizar un multímetro común.




