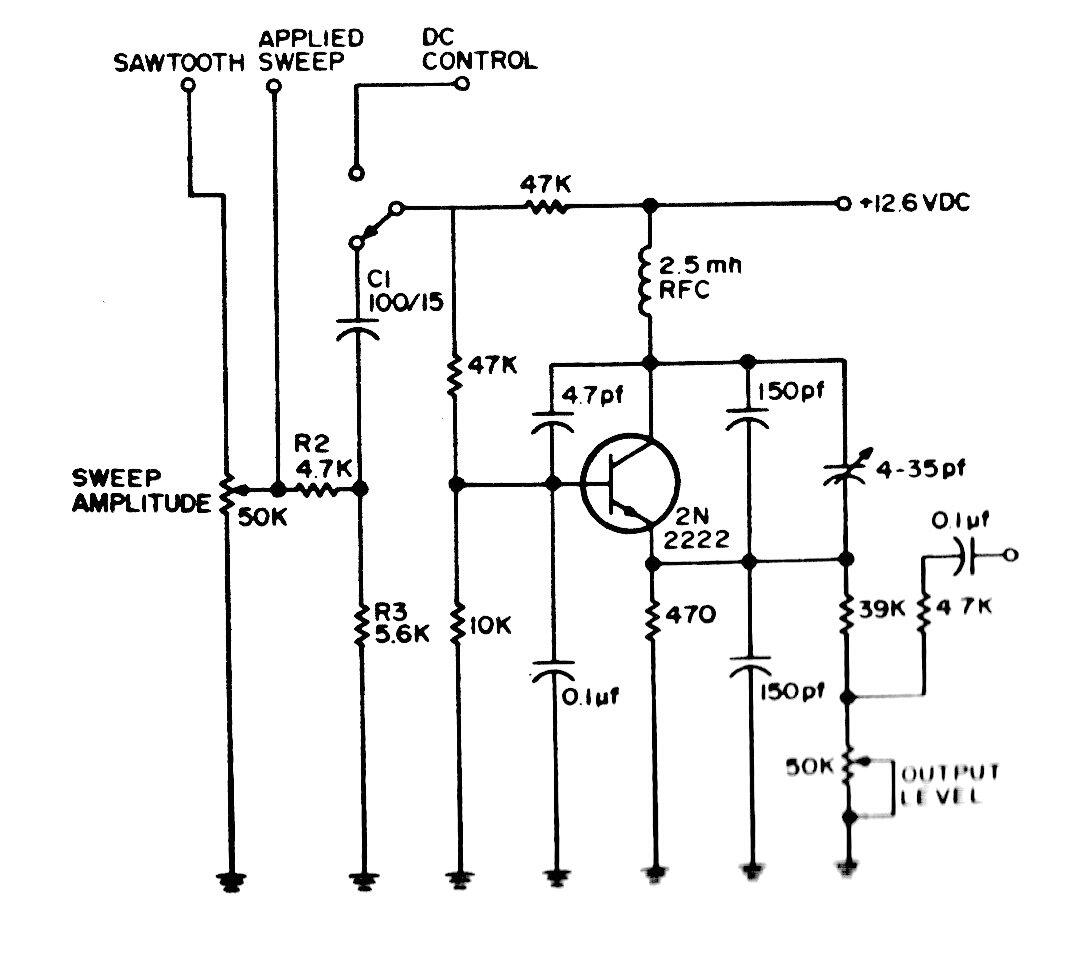
Este circuito se destina básicamente a la calibración de etapas de FIs de radios comunes usando el osciloscopio. El circuito es de una antigua documentación americana. La alimentación se puede realizar con baterías o fuentes. El consumo es bajo.
Este circuito se destina básicamente a la calibración de etapas de FIs de radios comunes usando el osciloscopio. El circuito es de una antigua documentación americana. La alimentación se puede realizar con baterías o fuentes. El consumo es bajo.