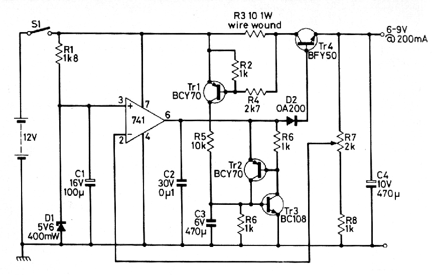
Este circuito fue obtenido en una revista inglesa de 1982. Se trata de un circuito que corta la alimentación cuando la corriente en la carga alcanza un cierto valor que se considere peligroso. Este valor de corriente es del orden de 250 mA para los componentes utilizados. Los transistores PNP pueden ser los BD136 y los NPN los BD135.




