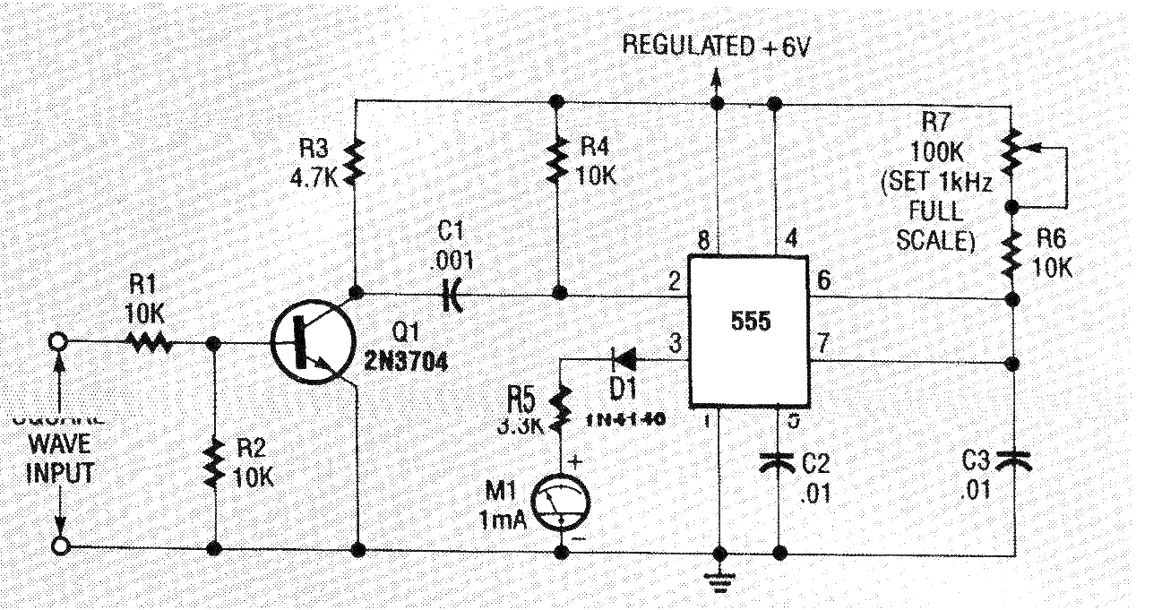
Este circuito es de una Electronics Now, americana de diciembre de 1992. La revista ya no existe, pero el circuito se puede montar fácilmente con transistores BC548. El circuito mide frecuencias de señales rectangulares hasta algunos cientos de kilohertz proporcionando indicación en un instrumento analógico o en la escala correspondiente de un multímetro.




