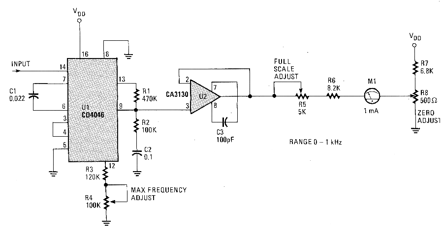
Este circuito se obtuvo en una Hands On Electronics, revista americana de enero de 1987. Este circuito convierte señales de frecuencias hasta algunos megahercios y una tensión que se indica en el instrumento. Se trata de un frecuencímetro analógico simple para señales digitales. La alimentación se puede realizar con tensiones de 5 a 15 V.




