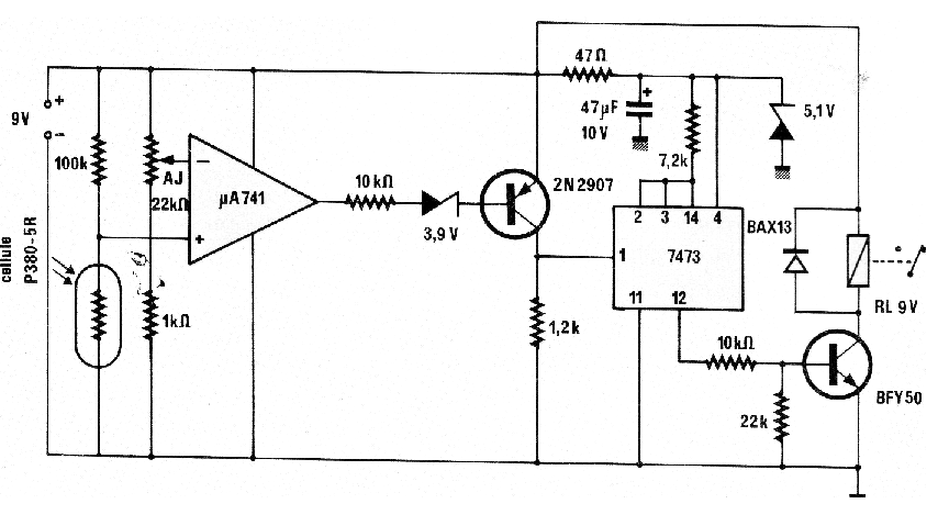
Este circuito fue obtenido en una revista francesa Radio Plans de enero de 1985. Por los componentes que usa puede ser montado con facilidad aún hoy. El transistor NPN puede ser el BC547 y el PNP BC558. El circuito puede ser alimentado por 6 a 12 V, según el relé utilizado.




