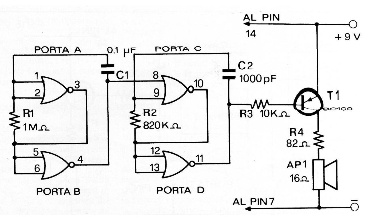
Este circuito es de una revista italiana Radio Elettronica de enero de 1977. El circuito muestra cómo implementar un circuito que produce sonidos intermitentes cuya frecuencia depende de C2 y la intermitencia de C1..El transistor puede ser el BC558 para T1 con alimentación entre 5 y 6 V y BD136 para tensiones superiores a 6 V hasta 12 V. Con los transistores indicados R4 es innecesario.




