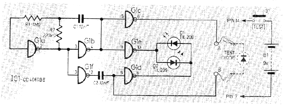
Este circuito fue obtenido en una revista inglesa de 1978, pero es perfectamente actual por la configuración que es de las más tradicionales. Los componentes son comunes y la alimentación puede ser hecha con tensiones de 5 a 9 V. El circuito tiene una acción oscilante posibilitando la prueba del diodo independiente de la polaridad.




