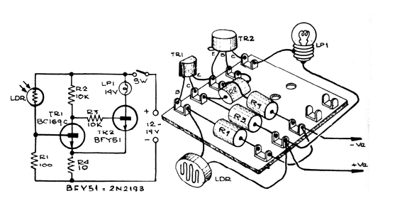
Este circuito, obtenido de una publicación argentina de la década de 1970, hace que una lámpara se encienda cuando se oscurezca. La lámpara puede ser alimentada por una batería o fuente y su corriente será de 500 mA como máximo si usamos el BD136 para TR2. TR1 puede ser el BC548. R1 puede ser reemplazado por un trimpot de 10k para mayor facilidad del ajuste de disparo. El LDR debe colocarse de modo enano para recibir la luz de la lámpara que controla el circuito. Observe la técnica de montaje sugerida en la época.




