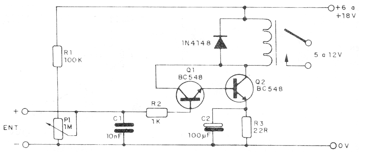
Este circuito de shield utiliza dos transistores NPN comunes de uso general en la configuración de Darlington para obtener una alta ganancia en la excitación de un relé. El circuito posee un control de ganancia y puede excitar relés de 5 a 12 V con corrientes de bobina hasta 100 mA. Para corrientes mayores, hasta 500 mA, Q2 puede ser reemplazado por un BD135. La entrada de señal es continua.




