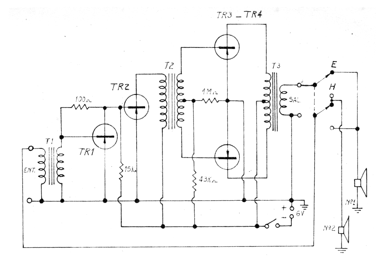
Este interesante circuito de intercomunicador fue obtenido de una publicación argentina de los años 1970. En el original fueron usados transistores de germanio y los transformadores son del tipo encontrado en radios transistorizados antiguos. Podemos cambiar algunos resistores experimentalmente y aprovechando los transformadores driver (T2) y salida (T3) de una radio, montar el circuito con transistores modernos. T1 será un transformador de salida. TR1 y TR2 pueden ser BC558 y el par TR3, TR4 pueden ser BD136. Los altavoces son de 8 ohms.




