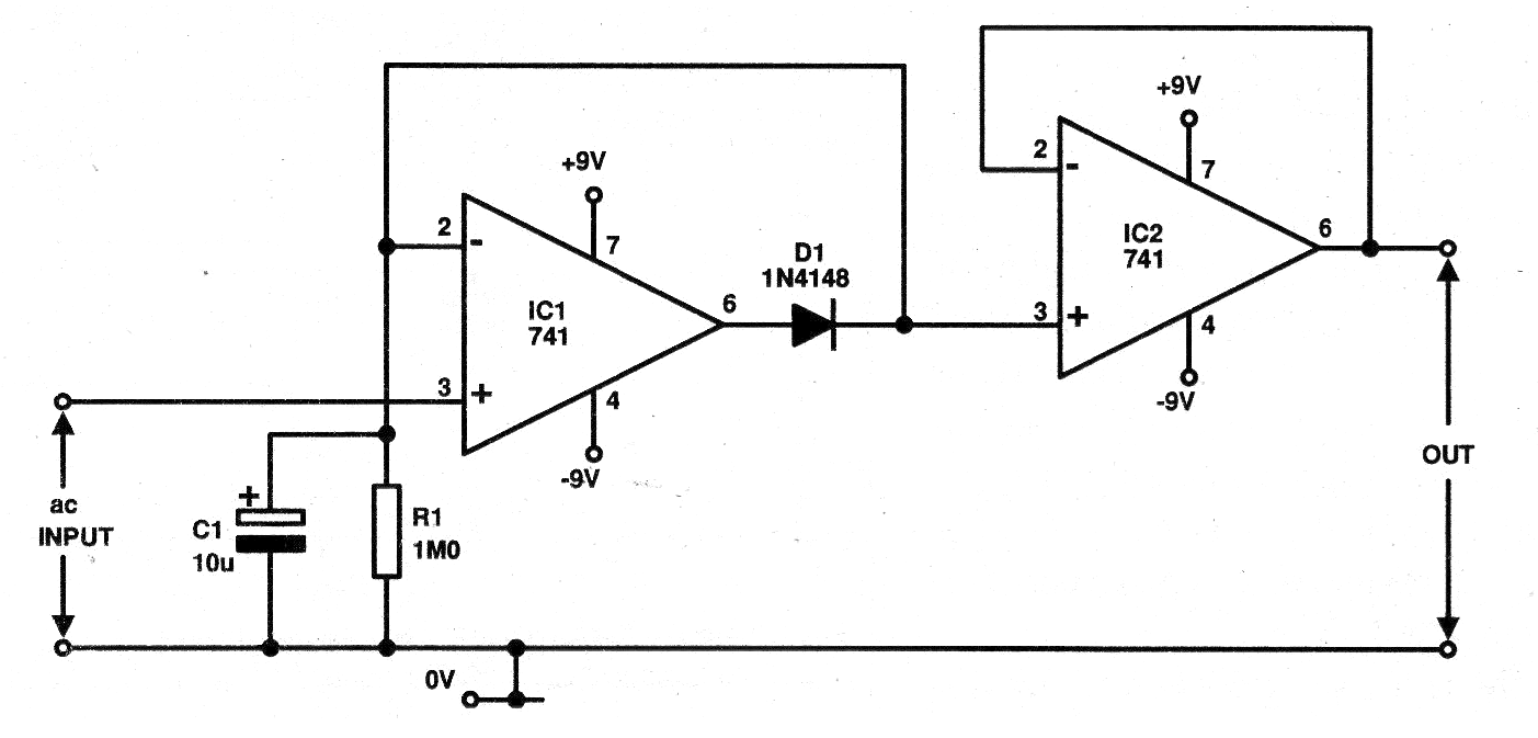
Este circuito fue encontrado en una publicación inglesa de 1993, pero se puede montar fácilmente porque los componentes todavía son comunes. Detecta picos de tensión determinados por los componentes de realimentación del integrado. La fuente de alimentación debe ser simétrica y la salida es bufferada, con una baja impedancia.




