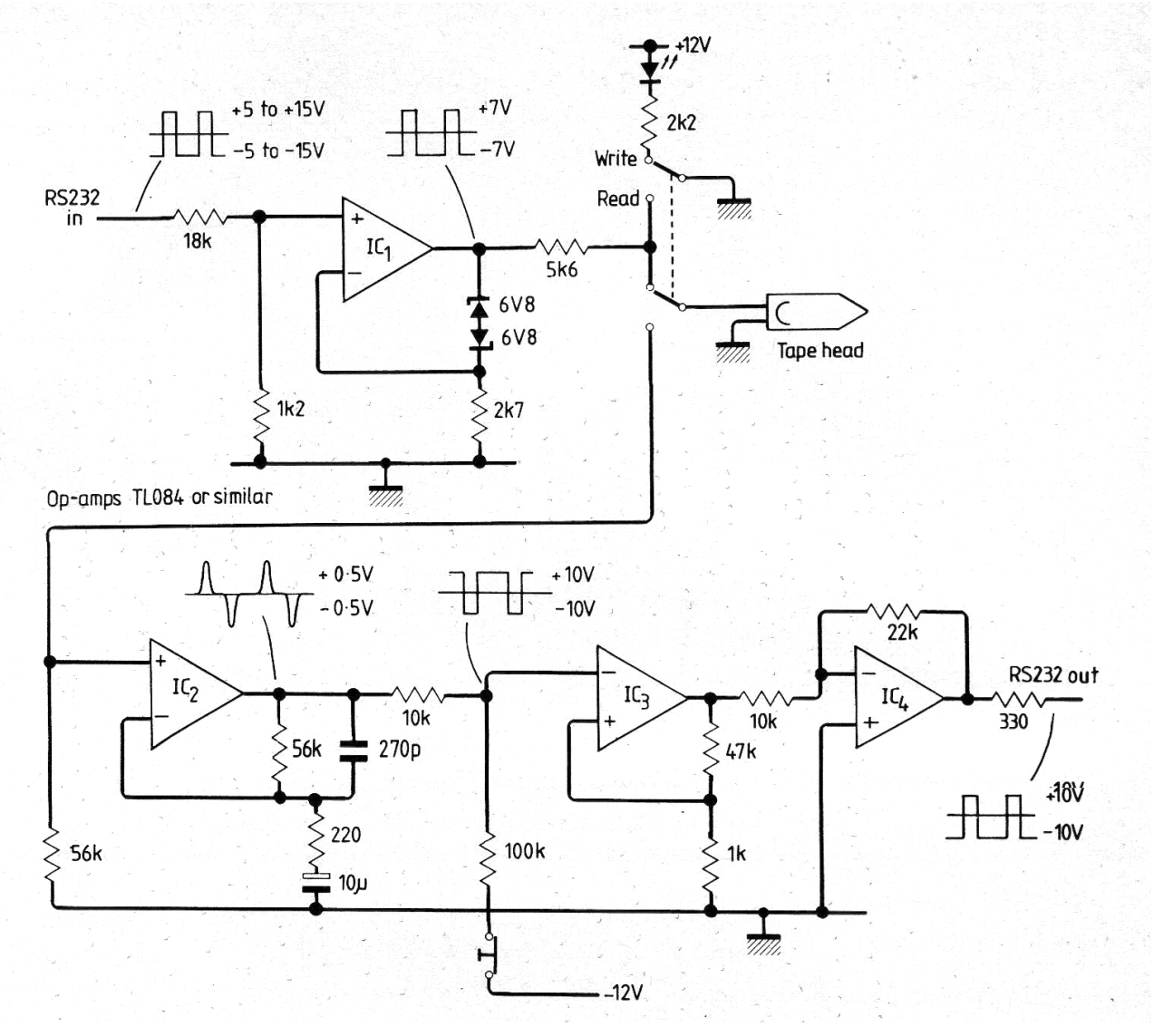
Este curioso circuito permite retirar datos de un puerto RS232 y grabarlos en forma de audio en una grabadora de cinta de cassette. Las señales se convierten y la frecuencia máxima es de 4800 bauds. El circuito es de una revista inglesa de 1985 (cuando los grabadores de cassette todavía se usaban). Los operativos pueden ser los TL084 o equivalentes.




