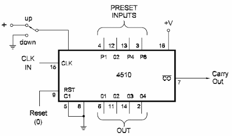
En la figura tenemos el modo de utilizar el circuito integrado CMOS 4510 como contador progresivo y regresivo (up-down). La señal de entrada debe ser rectangular libre de repiques y la frecuencia máxima es de algunos megahertz determinada por la tensión de alimentación. La tensión de alimentación puede estar entre 5 y 15 V. El circuito es del libro CMOS Sourcebook de Newton C. Braga, publicado en los Estados Unidos.




