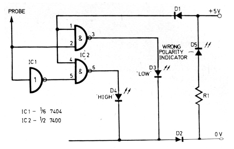
Este circuito fue obtenido en una revista de 1977, pero aún puede ser montado con facilidad, pues los componentes son comunes. El circuito indica el nivel lógico de los puntos de un circuito TTL. La alimentación de 5 V se retira del circuito que se está probando. D1 y D2 pueden ser 1N4148.




