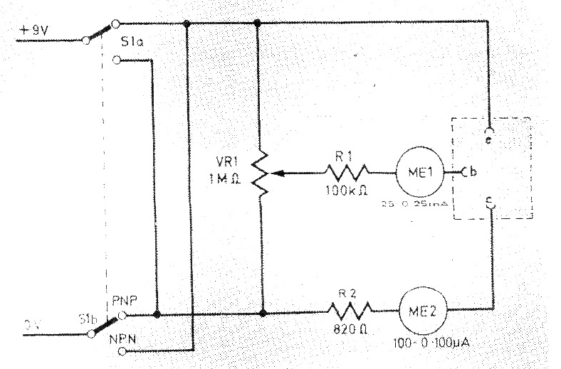
He encontrado este circuito en una revista de 1976, pero todavía se puede montar con facilidad, ya que todos los componentes son comunes. El circuito indica tanto la corriente de base como la corriente de colector posibilitando la determinación de la ganancia del transistor en prueba. El ajuste de la cadena de base se realiza en un potenciómetro.




