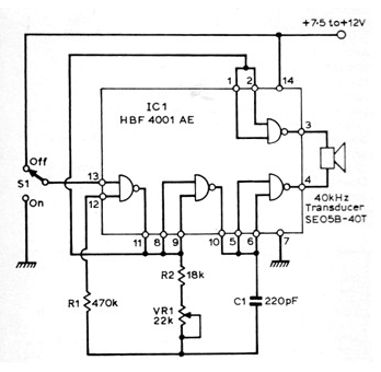
Este circuito fue obtenido en una revista de 1976, pero utiliza componentes que aún se pueden obtener con facilidad. El transductor es del tipo utilizado en controles remotos ultrasónicos de 40 kHz. VR1 ajusta el circuito para un máximo rendimiento en la frecuencia de resonancia del transductor.

Generador Ultrasónico



