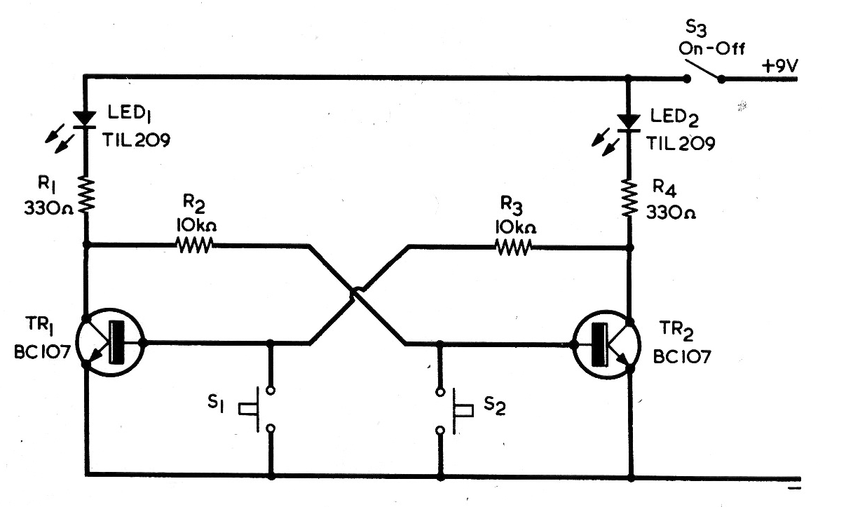
Este circuito es de una revista Radio & Electronics Constructor, de Inglaterra de 1975. La revista ya no existe, pero el circuito puede ser implementado con transistores BC548 o BC549 en lugar de los originales. El circuito tiene sus salidas en los colectores de los transistores accionando un LED en cada una. Cuando uno enciende el otro apaga. El multivibrador debe ser alimentado con tensiones entre 6 y 12 V.




