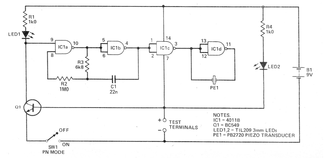
Este circuito fue publicado en una revista inglesa de 1983, pero se puede montar fácilmente utilizando BC548 para el transistor. El transductor es del tipo piezoeléctrico y la alimentación se puede hacer con tensiones de 6 a 9 V. El circuito produce un tono intermitente y también parpadea del LED cuando el circuito en prueba presenta continuidad.




