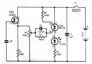
Este circuito es de una revista de 1982, pero puede ser montado con el BF245 para el FET y cualquier PUT. El circuito acciona un LED al final del tiempo programado. El circuito debe ser alimentado con tensiones entre 9 y 12 V, y como el consumo es bajo, se puede utilizar la batería. Máximo es de 4 minutos obtenido con un capacitor de 10 000 uF a C1.

Timer con FET y Unijuntura



