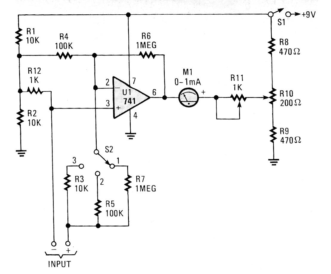
Este circuito es de una Popular Electronics de abril de 1991. La revista ya no existe, pero el circuito puede ser implementado con facilidad, pues utiliza componentes comunes. La alimentación se realiza con batería, ya que el consumo es bajo. El circuito posibilita la medida de tensiones muy bajas en tres escalas seleccionadas por una llave. Estas escalas son de microvolts.




