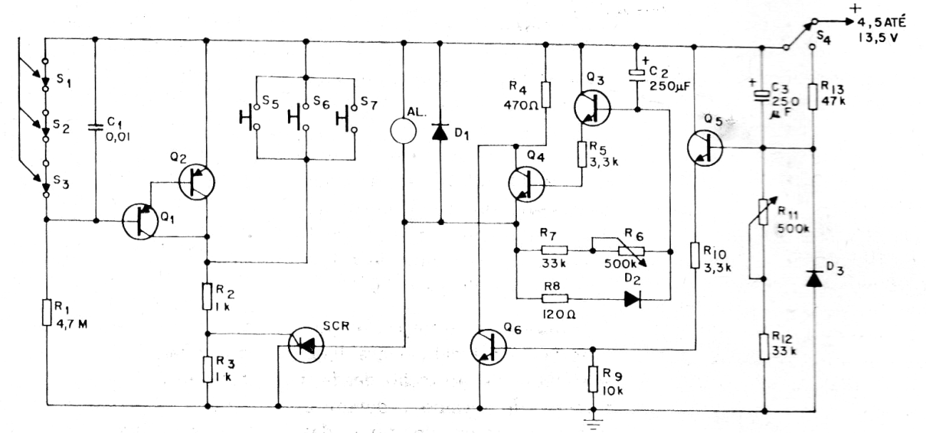
Este circuito se obtuvo en una publicación nacional de 1973, traducida de una publicación inglesa de la época. El SCR puede el TIC106 y los transistores NPN pueden ser los BC548. Los PNP pueden ser los BC558; El circuito permanece bloqueado de 30 segundos a 2 minutos después de conectarse, dando tiempo para que la persona salga del lugar. La carga debe tener tensión de acuerdo con la alimentación, pudiendo ser usado un relé. El circuito admite sensores de tipo NA y NC.




