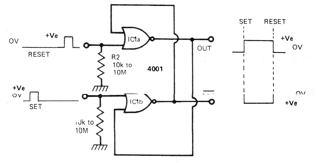
Si bien es una configuración común todavía hoy, este circuito se ha retirado de una publicación antigua. El circuito muestra cómo conectar las puertas NOR de un 4001 para obtener un flip-flop.
) Es un montaje experimental muy simple que genera tensiones elevadas a partir de una pila común. Estas...
Si usted tiene dificultad para oír estaciones de onda corta distantes en su radio alimentada por...
El segundo circuito que presentamos utiliza dos transistores amplificadores y un tercero como...