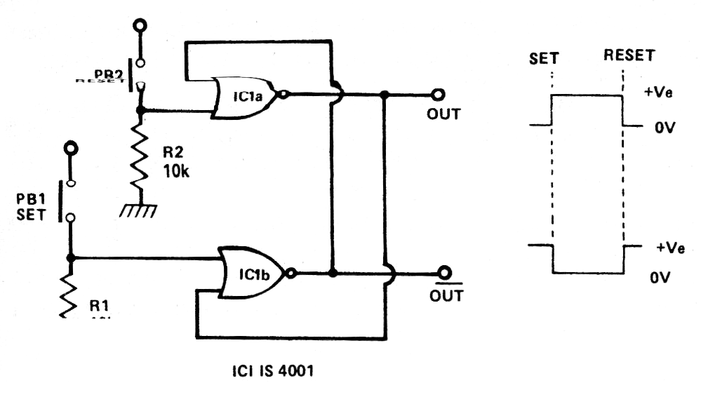
Si bien es una configuración común todavía hoy, este circuito se ha retirado de una publicación antigua. El circuito muestra cómo conectar las puertas NOR de un 4001 para obtener un flip-flop o biestable disparado por interruptores de presión.
Si bien es una configuración común todavía hoy, este circuito se ha retirado de una publicación antigua. El circuito muestra cómo conectar las puertas NOR de un 4001 para obtener un flip-flop o biestable disparado por interruptores de presión.