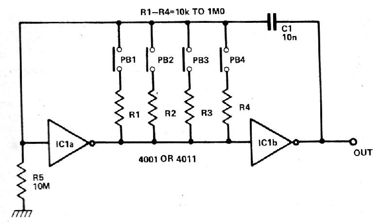
Si bien es una configuración común todavía hoy, este circuito se ha retirado de una publicación antigua. El circuito muestra cómo debemos conectar las puertas de un 4001 o 4011 como inversores, para obtener un astable con frecuencias diferentes seleccionables por push-buttons. Vea en la sección de matemáticas cómo calcular la frecuencia de este circuito.




