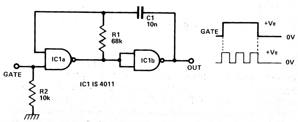
Si bien es una configuración común todavía hoy, este circuito se ha retirado de una publicación antigua. El circuito muestra cómo debemos conectar las puertas de un 4011 como inversor, para obtener un astable que opera cuando se dispara por una señal externa. Vea en la sección de matemáticas cómo calcular la frecuencia de este tipo de circuito.




