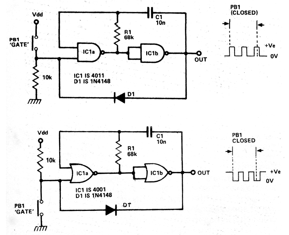
Si bien es una configuración común todavía hoy, estos circuitos se han retirado de una publicación antigua. Los circuitos muestran cómo debemos conectar las puertas de un 4001 y un 4011 como inversores, para obtener astables que operan cuando son disparados por un interruptor externo. Vea en la sección de matemáticas cómo calcular la frecuencia de este tipo de circuito.




