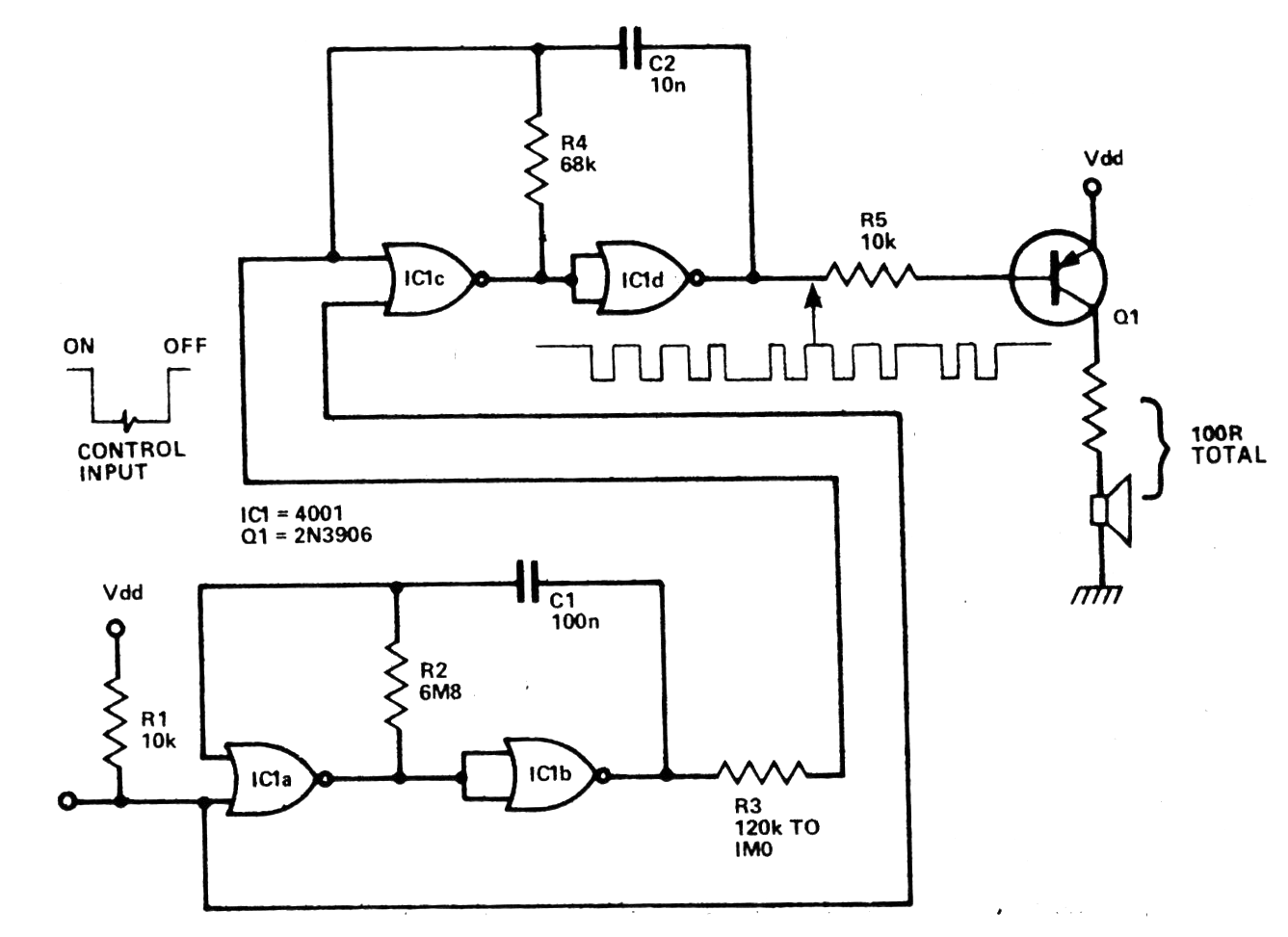
Si bien es una configuración común todavía hoy, estos circuitos se han retirado de una publicación antigua. El circuito muestra cómo conectar las puertas de un 4001 para obtener un generador de tono variable para una alarma. La frecuencia del tono es dada por C2 y la intermitencia por C1. Q1 puede ser un BD136.




