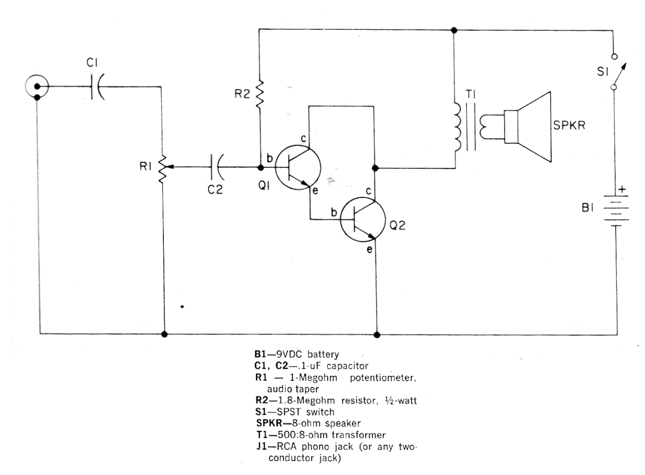
Este circuito se obtuvo en la publicación 101 Electronics Projects de 1979. El circuito se puede montar fácilmente, ya que todos los componentes son comunes. Los transistores pueden ser BC548. Esta configuración antigua utiliza un transformador de salida que se puede obtener en radios transistorizadas fuera de uso. La alimentación se puede realizar con tensiones de 3 a 9 V.




