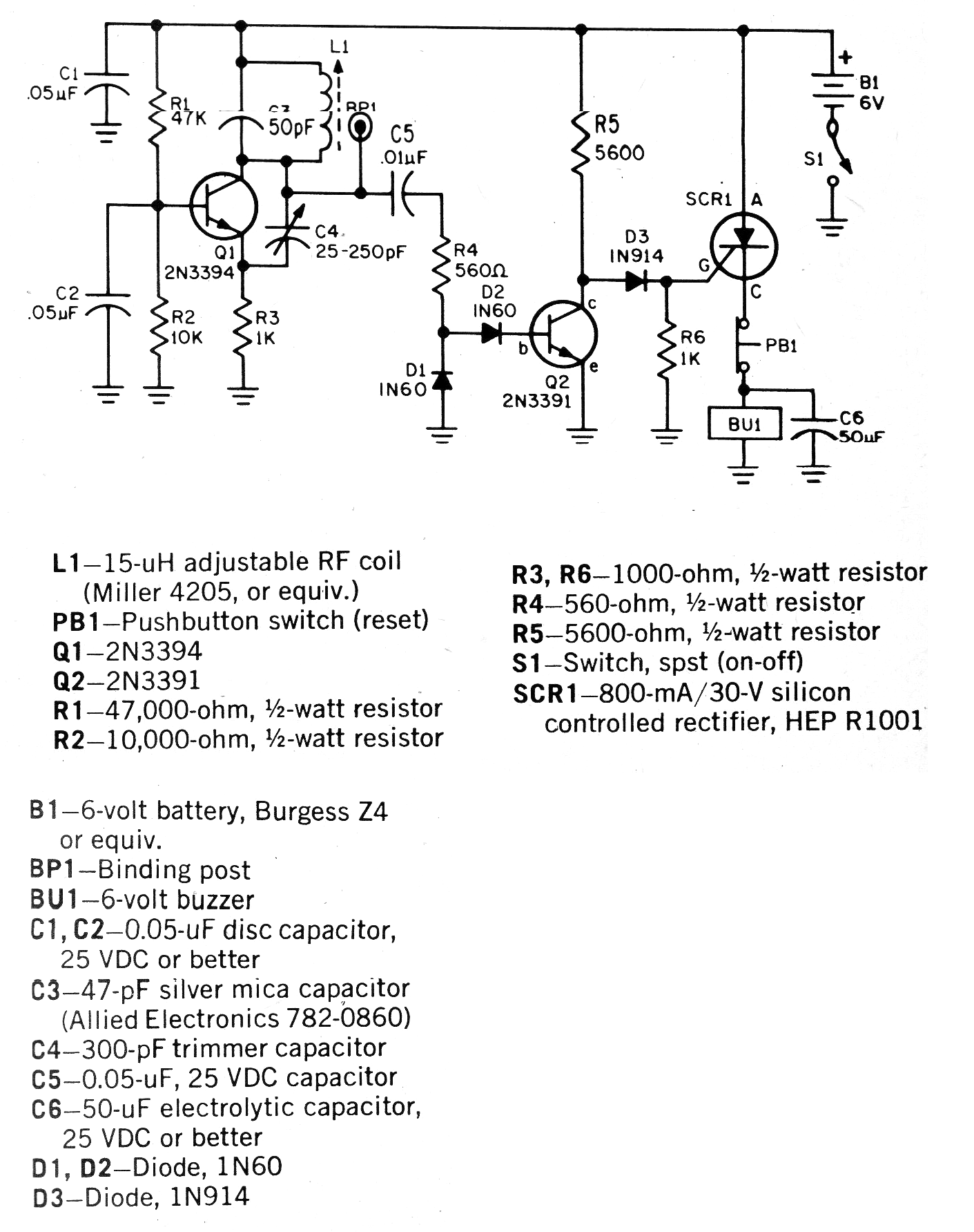
Este circuito se obtuvo en la publicación 101 Electronics Projects de 1979. El circuito se puede montar fácilmente, ya que todos los componentes son comunes. Sólo la bobina es más crítica pudiendo ser enrollada con cable 32 en un bastón de ferrita. Entre 10 y 30 espiras son necesarias, siendo el valor obtenido experimentalmente. Los transistores pueden ser el BC547 y el SCR el TIC106. El circuito tiene una salida en la que conectamos un eslabón para colgar la alarma en una manija.




